There’s a great deal of talk in the political world these days about improving STEM education – Science, Technology, Engineering, and Mathematics. I’m not sure how Technology is different from Engineering, but it does improve the acronym. The US apparently needs more STEMans to Compete In the Knowledge Economy of Tomorrow. So it might be fair to ask how many politicians have actually taken part in this wonderful new form of work. Let’s get specific and ask – what politicians have actually held patents?
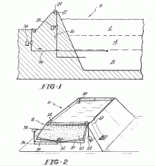
The first answer is a quite gratifying one – the greatest American president, Abraham Lincoln, actually held a patent, although he’s the only president to do so. It’s #6469, “Buoying Vessels Over Shoals”, and was granted in 1849. By that time there had only been about 17,000 patents issued (they started re-numbering them in 1836 after a fire destroyed the records of the first 10,000) so getting one was a fairly big deal. These days there are about 1000 granted per day. The scheme was to have expandable buoyancy chambers to lift steamboats over sandbars or other obstructions. Lincoln got the idea after being stuck in exactly that situation. He whittled a model of it out of wood (a requirement for patenting in those days), and the model is still in the Smithsonian. It didn’t actually work – the chambers added enough weight to make the boat more likely to run aground – but was still a nice idea.
But that was 160 years ago. How about politician inventors in the present day? I looked through this list of scientists and engineers in Congress from the start of the Obama administration, and of these 30 people, found 3 who actually hold patents:
Steven Chu – Secretary of Energy (2009-present)
And Nobel laureate! He won in 1997 for a means of cooling atoms to extremely low temperatures by Doppler cooling. This is where you shine a laser on a gas of cold atoms and tune the laser to just below their absorption frequency. If the atoms move towards the laser, its frequency looks higher, and the atoms absorb photons and slow down. You can get them down to within 150 millionths of a degree above absolute zero this way. He received 6 patents for aspects of this (6,684,645, 5,528,028, 5,512,745, 5,338,930, 5,274,232, 5,274,231) between 1993 and 2004, and 3 others (5,079,169, 7,013,739, 4,742,224) for other physics-related schemes. As head of the DoE he has not, sadly, been able to do much about the primary energy issue of our era, global warming, but it hasn’t been for lack of trying.
Rush Holt – D-12 New Jersey (1998-present)
Has a PhD in physics from NYU, and was assistant head of the Princeton Plasma Physics Laboratory in the 90s. He’s the only Quaker in Congress, and actually worked on arms control in the 80s. Given the disastrous wars the US has undertaken in the last 10 years, we could have used some more Quakers. His patent is from 1979: #4,249,518, “Method for maintaining a correct density gradient in a non-convecting solar pond”, and is a nice scheme for collecting solar energy on vast scale. You expose a pond to sunlight, but keep lighter fresh water on top, and heavier salt water on the bottom. This suppresses convection because the warm salty water on the bottom doesn’t lose enough density to rise. The water gets hotter and hotter on the bottom, and doesn’t rise to lose heat to the air on top. It gets piped off to evaporate, and fresh water is condensed from it. Solar ponds seem to have been used a fair amount, but don’t get a big enough temperature difference to be an efficient heat engine.
Jerry McNerney – D-11 California (2006-present)
Has a PhD in mathematics from the University of New Mexico. From the 80s up until his election he worked on various kinds of wind energy, ending up as CEO of a wind turbine startup, HAWT Power, which seems to be no more. His patent is from 2008: 7,351,033, “Wind turbine load control method”. It describes an algorithm for changing the pitch on the blades of a windmill so that it can rotate at maximum speed in light winds but reduce the load in high winds to avoid damaging the mill. It looks useful, but like most software patents seems on the obvious side.
Still, there’s a huge lawsuit going on right now between the US company American Superconductor and the Chinese wind turbine maker Sinovel over the theft by Sinovel of AMSC’s turbine control software. An Austrian employee has actually confessed to the theft, but it’s being tried in a Chinese court, which dismissed the first round. AMSC has lost hundreds of millions in sales over this, so doing this control right must be worth a lot.
Anyway, 3 patent holders out of the 535 members of Congress and ~30 members of the Cabinet doesn’t seem like very much. For a country that prides itself on innovation and claims to want to boost it, it doesn’t seem to be selecting innovators as leaders.




Unfortunately the president most closely affiliated with STEM would be Herbert Hoover.
Pingback: Criminal Inventors | A Niche in the Library of Babel
Pingback: Movie Inventors (1) – Oddballs | Let's See This Work
Pingback: SF Inventors | A Niche in the Library of Babel